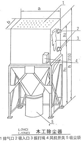
| 一、概述 L—3—120HCI系列木工除尘器是新型除尘机组,具有结构合理,性能稳定,使用及维护方便。 通过管道吸入到除尘机组内的含尘空气,大部分尘埃通过惯性落于箱内,浮的微尘经过圆筒式布袋过滤变成清洁空气,由排气排出。 二、结构 |
|
![]() |
![]() |
![]() |
|
| 三、使用说明 1.电源插头插入380V,50HZ电源,合上开关,注意风机旋转方向应和转向标牌上的方向一致,如果反转应将其中二根相线对一下。 2.每隔一段时间(根据吸尘量),停止风机、拉振打绳进行摇动振打落尘。一般在风机完全停下来后剧烈地拉绳振打10次左右。如果在风机转动中拉绳摇动,会形成吹溅和牢固地堵孔现象,所以请绝对避免。 3.异常振动和杂音,发生后时可以考虑风机的平衡失常和电机的轴承产生异常,所以请迅速地停止运转检查,不平衡的风机能明显缩短机械的寿命。 4.使用失去平衡的风机长期运转的场合,因为电机的轴承产生异常,所以在安装新风机前,只转动电机请确认其不产生杂音,在产生异常时,请调换轴承。 5.由于本机吸引力强大,所以在吸入口随便地用手什么的接近的话是危险的,所以请注意。 6.由于粉尘的种类。本除尘机组带有静电,通过火花有产生火灾的危险、所以本机一定要按装接地。 在安全前提下为了得到高效率的工作。对工作前的机器要进行必要检查和定期检查。 四、适用范围 L—3—120HCI系列木工除尘器适用于木材加工、纺织行业、等产生非金属尘屑的场所。 |
|




通过认证 




